.jpg)
时间:2024-10-17 15:39:21 来源:
[法安导读] 以下推出的是《智慧法院篇 | 创新经验之“终本出清智能管理应用(终本智管)”》
为深化政法智能化建设,加强“智慧治理”“智慧法院”“智慧检务”“智慧警务”“智慧司法”等信息平台建设,深入实施大数据战略,实现科技创新成果同政法工作深度融合。法制日报社已连续举办了七届“政法智能化建设技术装备及成果展”。
作为装备展配套活动,法制日报社于2024年3月继续举办了2024政法智能化建设创新经验征集宣传活动,活动征集了“智慧治理”“智慧法院”“智慧检务”“智慧警务”“智慧司法”创新经验。
在2024年7月10日至11日举办的成果展上,对入选的创新经验进行了集中展示,并已编辑整理成册——《2024政法智能化建设创新经验汇编》。
该汇编分为智慧治理篇、智慧法院篇、智慧检务篇、智慧警务篇、智慧司法篇五个篇章,为政法信息化、智能化建设提供及时、准确、 实用的资讯信息与经验观点。
应广大读者要求,我们特开辟专栏,将部分创新经验进行展示,敬请关注!
以下推出的是《智慧法院篇 | 创新经验之“终本出清智能管理应用(终本智管)”》

终本出清智能管理应用(终本智管)
浙江省丽水市云和县人民法院
近年来,浙江省丽水市法院充分发挥党委领导的政治优势、组织优势和密切联系群众优势,推动丽水市委在全市部署开展执行终本案件暨执行积案出清攻坚行动。在“终本出清”牵引下,浙江省丽水市云和县人民法院运用数字赋能,提出建设“终本出清智能管理”应用,解决终本案件后续管理难题,让更多“纸上权益”变成“真金白银”。
一、主要内容
“终本出清智能管理”应用通过对接浙江省法院办案办公平台智慧执行2.0,实现数据同步,目前已建成自动查询模块、智能研判模块、财产提示模块以及数据统计模块等功能模块,实现执行数据研判智能化、财产查控实时化、后续管理动态化。
(一)建设思路
“终本出清智能管理”应用围绕“智慧法院”“数字执行”改革重点,针对法院以“终结本次执行”程序结案的终本案件管理、出清的痛点梳理“三张清单”,希望能打破法院各层级、部门之间的数据信息壁垒,通过建立终本案件体系化、全流程闭环管理机制,实现终本案件全方位智能管理、多维度系统分析、多样化数据展示,并协跨多部门联动,整合社会资源,助力终本案件智能管理、精准出清。
应用主要为破解在终本案件出清、管理工作中的三个方面的问题:
1.数据管理难。多年以来执行工作面临终本案件底数不清、数据零散繁杂、新老案件交叉重叠、执行连贯性不强等难题,未能实现全面、多维、动态管理。
2.财产查控难。案件终本后,财产查控系统需人工手动发起查询,基层法院案多人少,人工复查效率低下且难免遗漏,导致反馈结果不能及时处理,财产被转移。
3.终本出清难。终本案件数量庞大,执行系统不能对系列案件、小标的案件、涉民生案件、特殊主体案件等类型做专项研判,影响高效、精准出清。
(二)建设内容
本应用建设从终本案件出清工作的难点与堵点出发,建设了驾驶舱、终本案件库、智能研判、财产线索、数据分析五个板块。
1.精准管理。设置驾驶舱、终本案件库,对接浙江省法院办案办公平台智慧执行2.0,实现数据采集的全面性和完整性,保障驾驶舱内容及终本库存案件实时更新。依托案件标签、类别设置对库内案件进行自定义分类,推动后续智能研判、定期查控、数据分析的准确性和可用性,方便后续针对某类案件开展专项出清行动。
2.智能研判。通过对案件的案由信息、案件分类、案件标签进行综合研判综合研判,终本续管人可根据研判内容灵活选择适用执转破、个人破产、执行救助、执行保险以及逆转执行等类型化退出路径,开展专项清理、个人债务重整、企业破产等相关工作,联动电信、移动、公安等部门,采集被执行人行动轨迹,便于后续查人找物,提升终本案件出清效率。
3.定期查询。系统实现了与浙江省法院“点对点”网络查控系统的对接,可根据案件关注程度和阶段性工作重点进行不同周期的财产线索查询,以系统自动代替传统人工,并根据“反馈财产类型”对查询结果进行筛选分类,提醒终本续管团队对查实财产采取查封、冻结、扣押等执行措施。
4.数助决策。为更好地服务社会基层治理,让执行工作与社会基层治理深度融合,形成良性互动,让更多积极因子在基层治理中充分迸发,云和法院在系统增设数据分析功能。该模块可智能生成终本案件分析报告,在选择报告统计周期以及统计地域范围后,点击生成报告,会在下发列表中生成报告,可对报告进行预览和下载。每次生成报告的记录均会留痕,便于报告的管理与收集,为服务基层社会治理、优化营商环境提供数据支撑。
二、应用亮点
应用为浙江省高院执行“一件事”数字化改革第三批子场景应用试点项目,丽水法院司法公正感受度提升工程中“司法信用+社会治理”数字化改革项目的组成部分。对接浙江省法院办案办公平台智慧执行2.0实现数据同步,抓好端口集成、数据安全,以流程重塑+数字赋能为基础,通过精细化管理、多跨协同、服务基层等手段,为“持续出清终本案件”“切实解决执行难”提供数字化技术支撑,填补智慧执行2.0对终本案件后续出清、管理手段的缺失。
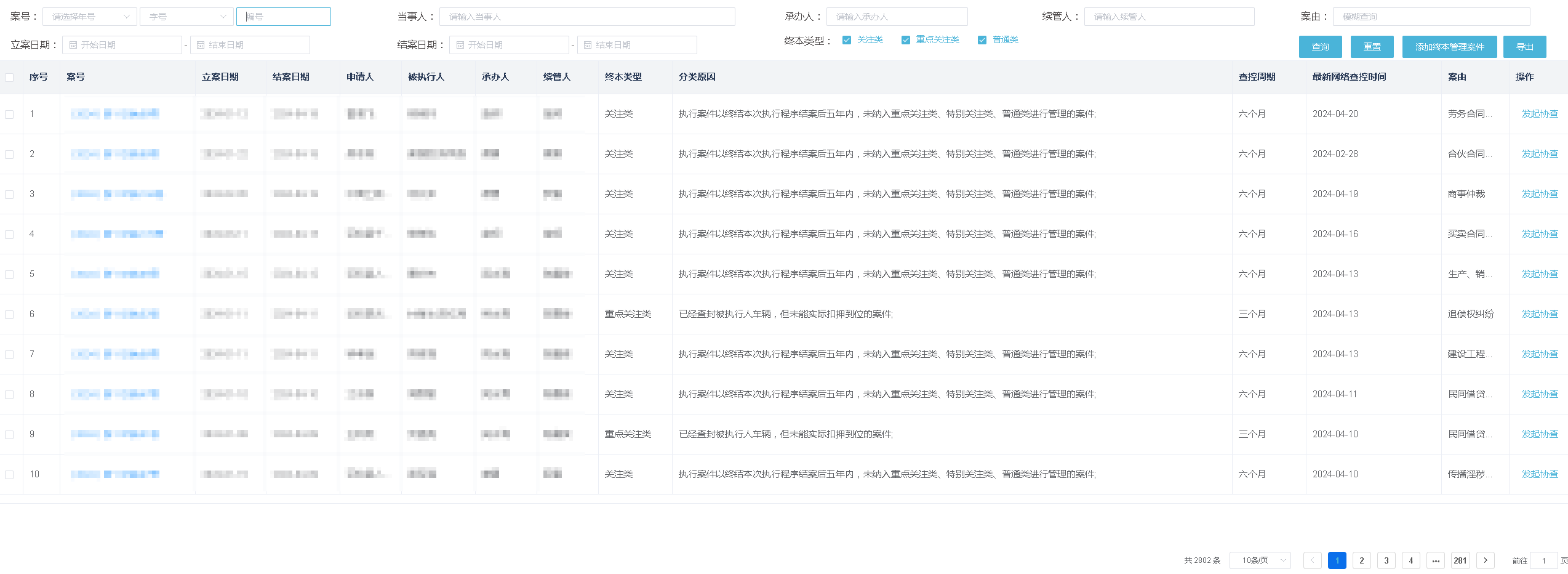
一是智能管理“一屏掌控”,全面清底。构建驾驶舱、终本案件库,设置涉民生、涉企业等17个一级标签、49个二级标签,对所有已入库终本案件进行全面核查、有效清洗、合并过滤,并搭配平台的案件补录、变更关注类型、退出管理等功能,全面厘清终本案件库存底数。2023年,实现对3776件终本案件的动态管理。

图 1驾驶舱界面
二是自动查询“一贯到底”,助力执行。以系统自动查询代替传统人工查询,依据终本案件的受关注度,确定查控周期,借助“高频狙击”式查询,及时发现被执行人资金动向,并根据“反馈财产类型”对查询结果进行筛选分类,助力终本续管团队及时高效地采取查封、冻结、扣押等执行措施。如年龄限管模块,可自动查询达到退休年龄或疑似死亡的被执行人,据此开展扣划养老金、公积金等工作。2023年,共自动查询终本案件库4308次。

图 2自动查控界面
三是智能分析“一键生成”,服务治理。通过涉企业案件、涉民生案件、涉年龄限管案件等15个分类维度,有机整合案件类别、标的大小、关联行业等执行数据,对终本案件进行精细化智能化分析研判。如系统分析被执行人资产、债权债务、收入、诚信、婚姻等信息,筛选符合“个人债务清理金融豁免”条件的被执行人,出台“重整贷”机制,帮助43位申请执行人成功拿回欠款。2023年,共形成分析报告8份。

图 3自动生成分析报告
四是群众诉请“一管到底”,司法为民。执行工作是实现公平正义的最后一环,也是提升人民群众司法获得感、满意度的最具体环节。“终本出清智能管理”应用坚决贯彻落实党的十八届四中全会明确提出的“切实解决执行难”“依法保障胜诉当事人及时实现权益”目标,践行“公正与效率”工作主题,着力破解终本案件后续管理难题,让更多真金白银装进了当事人口袋,切实提高人民群众司法公正感受度。
三、“终本智管”实践成果
(一)应用成效:应用获评2023年度“浙江全域数字法院”改革“好应用”。理论文章《终结本次执行程序运行情况的调研报告》刊于《丽水审判》。
(二)政治成效:在云和县委政法委牵头下,在全县出台“4+X”整体攻坚机制,“1名乡镇分管领导+1名法官+1名派出所民警+1名村干部+X名社会力量”组成攻坚组,下沉村社网格,其中X按照属地性、案件特性、适度性原则科学配备,提升积案、难案化解的针对性,构建齐抓共管、合力攻坚工作格局。围绕查人找物、联合惩戒、拒执打击等方面,云和县30余家单位共同建立“自动履行正向激励、机动车辆执行查扣协作、办理拒执若干意见”等9项跨部门联动协作机制。将“法院主办+乡镇(街道)领办”“书记负责+专班运作”机制转化为常态化工作机制,实行县委主要领导包办疑难案件机制,县两办出台文件统筹终本出清攻坚行动,并将其纳入全县年度综合考核。由县委书记担任终本出清组长,亲自向全县10个乡镇(街道)“一把手”交办出清任务,凝聚“抓执行就是强治理,抓执行就是促发展”共识。

图 4攻坚组出清时刻

图 5“4+X”整体攻坚机制
(三)社会成效:“终本出清智能管理”应用于2023年3月在丽水全市法院贯通使用,2024年在浙江全省法院推广使用。在丽水市终本案件出清专项行动中,云和法院累计依托该应用出清执行终本案件1946件,执行到位金额1.48亿元。

图 6 申请执行人送锦旗致谢
责任编辑:晓莉
声明:
本网站图片,文字之类版权申明,因为网站可以由注册用户自行上传图片或文字,本网站无法鉴别所上传图片或文字的知识版权,如果侵犯,请及时通知我们,本网站将在第一时间及时删除。

征稿启事
品牌推荐更多>>